DCI VTC-VNPT-RIBBON 2024 Sự kết hợp hoàn hảo

Giới thiệu chung về giải pháp DCI VTC-VNPT-RIBBON 2024 sự kết hợp hoàn hảo

Giải pháp DCI VTC-VNPT-RIBBON 2024 sự kết hợp hoàn hảo giữa công nghệ DCI hiện đại và sự đổi mới của Ribbon hiện đang được triển khai tại Openaimobile. Với tính linh hoạt, tin cậy và hiệu suất tối ưu, giải pháp này giúp tối ưu hóa mạng và quản lý dữ liệu một cách dễ dàng và hiệu quả. Đáp ứng đầy đủ các yêu cầu trong gói thầu của khách hàng VNPT.

Tổng quan về giải pháp

Tổng quan về giải pháp DCI VTC-VNPT-RIBBON 2024 sự kết hợp hoàn hảo

Giải pháp này được thiết kế phù hợp với các yêu cầu trong hồ sơ mời thầu của gói thầu “Trang bị hệ thống truyền dẫn trung kế DWDM cho các node mạng IDC chính tại Việt Nam”. Nó giúp VNPT NET tận dụng công nghệ mới nhất, đảm bảo tốc độ truyền dữ liệu cao và độ tin cậy cao trong việc truyền dẫn dữ liệu trung kế.

Các thành phần thiết bị Ribbon sử dụng trong giải pháp DCI VTC-VNPT-RIBBON 2024 sự kết hợp hoàn hảo:

Giải pháp DCI 2024 mạnh mẽ của VTC-VNPT-RIBBON
Hình 1: Tổng quan dòng thiết bị Apollo

Đề xuất về giải pháp

Muxponder sử dụng là loại cạc TM400_2 với dung lượng 800G. Hai cổng line có thể cấu hình bước sóng coherent với dung lượng từ 100G đến 400G.

  • Cạc OLP_S2 sử dụng để kết nối với các cổng client trên Muxponder, hỗ trợ cơ chế bảo vệ 1+1 client WSS sử dụng cạc ROADM_9TF (có thể kết nối 9 hướng quang) hỗ trợ tính năng CDC-F
  • Suy hao dự trữ của hệ thống là 3dB/span
  • Hệ thống được thiết kế với dung lượng 8 bước sóng với tốc độ 400G, hỗ trợ flex-grid
  • Hệ thống được thiết kế mỗi hướng quang bao gồm: AMP, Mux/Demux, WSS; transponder/ muxponder trên từng shelf độc lập để đảm bảo bất kỳ sự cố trên một shelf nào (trừ card OPS/OLP) thì cũng không ảnh hưởng đến lưu lượng
  • Sơ đồ kết nối giữa các thành phần như hình dưới: 
Tính năng vượt trội của giải pháp DCI VTC-VNPT-RIBBON 2024
Hình 2: Sơ đồ kết nối các trạm

Tổng quan về thiết bị

Khung thiết bị Apollo 9608

Hiệu suất tối ưu với giải pháp DCI VTC-VNPT-RIBBON 2024
Hình 3: Cấu trúc khung thiết bị Apollo 9608

Card khuếch đại OA_DLHF

OA_DLHF là card khuếch đại kép EDFA ( Pre-AMP + Booster ) hỗ trợ khoảng cách xa, tối ưu tiết kiệm khoảng trống cho khung thiết bị

Thông số kỹ thuật:

  • Tích hợp khuếch đại cả hai chiều: 
    • Booster với gain 15-28dB
    • Pre-amplifier với gain 25-37dB
  • Chiếm 01 slot trên khung thiết bị OPT96xx
  • Tích hợp module SFP sử dụng cho OSC chạy trên bước sóng 1510 nm
  • Tích hợp bộ lọc C/T ghép tín hiệu điều khiển OSC với kênh dịch vụ
  • Sử dụng cho cấu hình Bi-directional
  • Hỗ trợ tính năng power và gain control
  • Hỗ trợ cổng Monitoring
  • OSC termination (optional)
  • Hoạt động với dải Extended C-band (96 bước sóng)
Giải pháp DCI VTC-VNPT-RIBBON 2024 Linh hoạt và tin cậy
Hình 4: Mặt trước card OA_DLHF
Sự đột phá trong DCI 2024 của VTC-VNPT-RIBBON
Hình 5: Sơ đồ kết nối card OA_DLHF

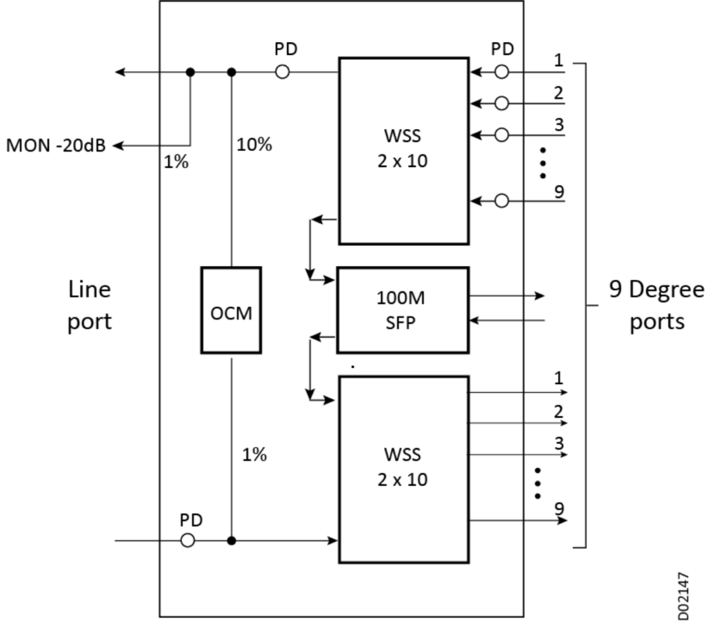
Card ghép và chuyển mạch quang ROADM_9TF

ROAD_9TF là cạc ghép và chuyển mạch 9 tín hiệu quang đầu vào, hỗ trợ tính năng colorless, directionless, contentionless (CDC) và flex-grid (F).
 Thông số kỹ thuật:
 🍀Hỗ trợ Flex-Grid trên dải extended C-band
 🍀Chiếm 02 slot trên khung thiết bị OPT96xx 
 🍀Hỗ trợ 96/48 Fixed-Grid với độ rộng kênh 50/100 GHZ
 🍀Sử dụng module WSS trên cả 2 hướng DROP và ADD 
 🍀Hỗ trợ cổng Monitoring 
 🍀Tính năng cân bằng bước sóng
 🍀Hỗ trợ tính năng loopback
 🍀Hỗ trợ WSON
 🍀ROADM_9TF có thể được dùng để pass-through hoặc add/drop dịch vụ
      + Trường hợp pass-through, các cổng được cấu hình là cổng OTS
      + Trường hợp add/drop, các cổng được cấu hình là OTS hoặc OHCP
Độ tin cậy cao với giải pháp DCI VTC-VNPT-RIBBON 2024
Hình 6: Mặt trước card ROADM_9TF
Giải pháp DCI hàng đầu từ VTC-VNPT-RIBBON năm 2024
Hình 7: Sơ đồ kết nối card ROADM_9TF

Card muxponder TM400_2

TM400_2 là card muxponder với tính năng cấu hình được bước sóng tùy theo khoảng cách (softwareprogrammable modulation), có thể áp dụng linh hoạt cho mạng Metro, Region hoặc Long Haul. Ngoài ra card còn tích hợp chuyển mạch OTN cho phép cấu hình dịch vụ vào/ra từ bất kỳ cổng nào nằm trên card.

Thông số kỹ thuật:

🍀 Dung lượng 800G

🍀 Chiếm 01 slot trên khung thiết bị OPT96xx 

🍀 Cung cấp 02 cổng line, sử dụng module D-CFP2 có khả năng tháo/lắp. Mỗi cổng line có khả năng cấu hình bước sóng 100-400G

🍀 Cung cấp 8*100G client (fan-out) hoặc 4*100G client

🍀 Bảo vệ SNCP (Y-protection) thời gian chuyển mạch <50msec

🍀 Bảo vệ client 1+1 sử dụng OLP, thời gian chuyển mạch <50ms 

🍀 Chuẩn OPENROADM

🍀 Hỗ trợ 2 kênh GCC trên uplink port

🍀 Hỗ trợ LLDP

🍀 Tương thích với các card dịch vụ khác như MIO700, HIO400A, TM200EN

 

TM400_2 có thể được cấu hình theo nhiều mode khác nhau:

🍀 Transponder mode:

      + Dual 400GE metro transponder, mapping 2 x 400GE signals to 2 x 400G

      + Single 400GE long-haul transponder, mapping 400GE signals to 2 x 200G (multicarrier mode)

      + Dual 100GE transponder, mapping 2 x 100GE signals to 2 x 100G 

🍀 Muxponder mode:

      + Dual 100GE muxponder, mapping 4 x 100GE signals to 400G (mode này được sử dụng cho hệ thống truyền dẫn trung kế cáp đất Hồ Chí Minh – Mộc Bài) 

      + Dual 100GE muxponder, mapping 3 x 100GE signals to 300G

      + Dual 100GE muxponder, mapping 2 x 100GE signals to 200G

      +16 x 25GE FlexE mapped to 400G, or 2 x (8x25GE) FlexE mapped to 2 x 200G 

🍀 Regenerator mode:

      + Regeneration mode support for 100G/200G/300G/400G in uni-directional operation 

      + Regeneration is done without clients, no mixture between muxponder, transponder and regenerator 

Tối ưu hóa mạng với giải pháp DCI VTC-VNPT-RIBBON 2024
Hình 8: Các cách cấu hình card TM400_2
Giải pháp DCI hiện đại từ VTC-VNPT-RIBBON 2024
Hình 9: Mặt trước card TM400_2
Đánh bại đối thủ với giải pháp DCI VTC-VNPT-RIBBON 2024
Hình 10: Sơ đồ kết nối card TM400_2

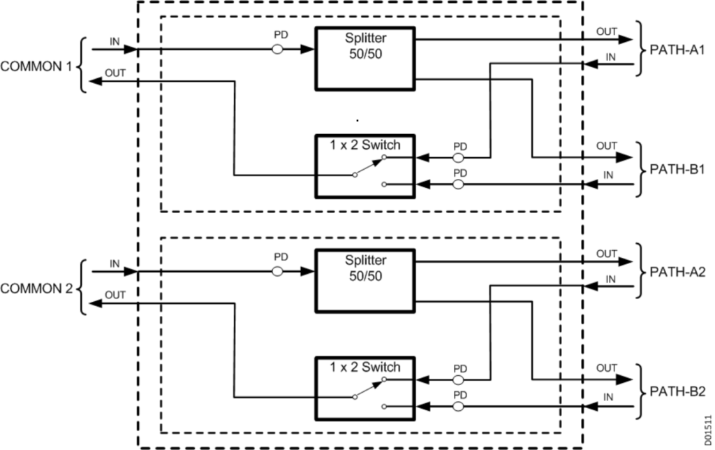
Card bảo vệ OLP_S2

OLP_S2 là cạc bảo vệ đường quang (Optical Line Protection) cung cấp tính năng bảo vệ cho 02 dịch vụ, làm tăng độ tin cậy với chi phí hiệu quả. Card có khả năng chuyển mạch khi xẩy ra đứt cáp quang, lỗi tín hiệu, suy giảm tín hiệu quang. 

Thông số kỹ thuật:

🍀 Bảo vệ 1+1 cho 2 dịch vụ (optical line hoặc client)

🍀 Bảo vệ cho tất cả các cạc dịch vụ của Apollo với cổng OTUk

🍀 Chiếm 01 slot trên khung thiết bị OPT96xx 

🍀 Thời gian chuyển mạch < 50msec

🍀 Hỗ trợ reversion hoặc non-reversion mode

🍀 Hỗ trợ tính năng hold-off timer

DCI VTC-VNPT-RIBBON 2024 Sự lựa chọn hàng đầu
Hình 11: Mặt trước card OLP_S2
Vượt trội với giải pháp DCI VTC-VNPT-RIBBON 2024
Hình 12: Sơ đồ kết nối card OLP_S2

Card tách/ghép kênh SP_CE4_2

SP_CE4_2 bao gồm 2 khối tách/ghép kênh, mỗi khối hỗ trợ tách/ghép 4 bước sóng, sử dụng splitter/coupler cho phép hỗ trợ Flex-grid (thay đổi băng tần kênh) và Colorless (thay đổi bước sóng). 

Tối ưu hóa quản lý dữ liệu với DCI VTC-VNPT-RIBBON 2024
Hình 13: Mặt trước card SP_CE4_2
Độ chính xác cao của giải pháp DCI VTC-VNPT-RIBBON 2024
Hình 14: Sơ đồ kết nối card SP_CE4_2
0/5 (0 Reviews)

We will be happy to hear your thoughts

Leave a reply

openaimobile.com
Logo
Compare items
  • Total (0)
Compare
0
Shopping cart